Einknopf Messbrücke

 
letzte Änderung 2012-05-21
Inventarnummer 00260, 00046
Bezeichnung Direktanzeigende Einknopf-Messbrücke
Hersteller Siemens & Halske
Datierung ca. 1960
Kategorie Wheatstone Messbrücke
Material Pressstoff
Abmessungen (B x T x H) 11 cm x 19 cm x 8 cm
Masse 1 kg
Stromversorgung 4,5 Volt Batterie
externe Stromversorgung
Markierungen keine Seriennummer
Zustand Originalzustand, sehr guter Erhaltungszustand; Funktion nicht getestet.
Referenz Derzeit sind keine Referenzen bekannt.

Originalverpackung

Abmessung (B x T x H): 12,5 cm x 22 cm x 9 cm
Masse 0,5 kg
Beschriftung keine
Zustand Ledertasche, sehr guter Zustand, kaum benutzt.

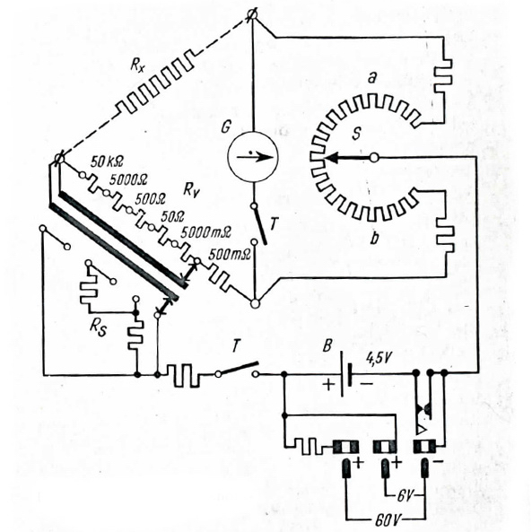
Messbereiche

Widerstand 40 mOhm - 50 kOhm

Gerätecharakteristik

Anzeigefehler keine Angaben
Frequenzfehler keine Angaben
Datenblatt nicht vorhanden
Handbuch Siemens & Halske - Einknopf Messbrücke [890 KB]
Schaltplan nicht vorhanden

Geschichte

Das Gerät [00260] war bei Telefunken im Einsatz. Letzte Prüfung war am 11.12.1979, geplante nächste Prüfung wäre der 11.06.1980 gewesen.

Anwendung

[00260] Direktanzeigende Einknopf-Messbrücke; Siemens & Halske; ca. 1960

Mit der direktanzeigenden Einknopf-Meßbrücke kann man ohmsche Widerstände einfach und rasch messen. Da sie von angelernten Arbeitskräften gehandhabt werden kann, eignet sie sich besonders für Messungen in Fertigungsstätten, für Kontrollen in Revisionsabteilungen usw. Bei der Fehlersuche in Reparaturbetrieben sowie bei Versuchsschaltungen in Laboratorien ermöglicht die einfache Bedienung dem Beobachter, seine Aufmerksamkeit voll der Gesamtschaltung zuzuwenden. Wegen ihrer kleinen Abmessungen

kann die Meßbrücke auf Montagen und auf Reisen bequem mitgeführt werden. Die Meßbrücke kann nur mit Gleichstrom gespeist werden. Der Meßbereich geht von 40 mOhm bis 50 kOhm.

weitere Aufnahmen des Exponats ...

[00260] Direktanzeigende Einknopf-Messbrücke; Siemens & Halske; ca. 1960 [00260] Direktanzeigende Einknopf-Messbrücke; Siemens & Halske; ca. 1960 [00046] Direktanzeigende Einknopf-Messbrücke; Siemens & Halske; ca. 1960